定期的な保守点検
定期的な保守点検
エンジンを安全・快適にご使用いただくためには、定期的な保守点検と部品の交換、整備が必要です。
部品の交換や整備には専用工具が必要な箇所や作業要領が定められている箇所があります。
充分な知識や工具がないまま作業を行いますと思わぬ事故を引き起こすおそれがありますので専門技術者に作業依頼されることをお奨めします。
- ※点検間隔は、運転時間または期間のどちらか早く達した方で実施ください。
- ※点検間隔がそれ以前の間隔を超え次の間隔に達している場合は、それまでに含まれている項目は 同時に実施ください。
- ※次の点検までに経年疲労により破損が予測される部品は全て交換ください。
初期50時間または1ヵ月後の点検(初回のみ)
最初の50時間または1週間目のどちらか先にきた時期に次の点検を実施ください。
燃料タンクのドレン抜き
エンジンの使用初期は、内部部品の初期摩耗のために潤滑油は早く汚れるので早めに交換します。
潤滑油の交換にあわせて潤滑油フィルタも新品と交換してください。
- 廃油缶をドレンコック(1)の下に置きます。
- ドレンコックを開いて燃料タンク内のドレン(水やごみなどの不純物)を抜き出します。
- 水やごみの混じっていない燃料が出るようになったらドレンコックを閉めます。

エンジン潤滑油とフィルタの交換
エンジンの使用初期は、内部部品の初期摩耗により潤滑油は早く汚れるので早めに交換ください。
- 検油棒と給油口のふたを取外し、検油棒ガイドに排油ポンプを取付け、潤滑油を抜き取ります。
・潤滑油給油口のふたを外しておくと潤滑油は早く抜き出せます。
・潤滑油の交換にあわせて潤滑油フィルタも新品と交換ください。
- フィルタレンチを使用して(左に回し)潤滑油フィルタを交換します。
- 新しい潤滑油フィルタの取付けは、フィルタのパッキンに潤滑油を塗布しフィルタが取付け面に当たるまで手動で右にねじ込み、さらにフィルタレンチを使用して3/4回転締め付けます。
- 指定のエンジン潤滑油を給油口から規定量まで入れ、ふたを閉めます。
- エンジンを運転し、潤滑油の漏れがないか確認します。
- エンジン停止後、約10分経ってから検油棒で油量を点検します。
・油量は検油棒の上限目盛りと下限目盛りの間でなければなりません。

エンジン潤滑油の抜き取りは、エンジンが冷えてから行ってください。エンジンが熱いときにエンジン潤滑油を抜き取ると、飛沫でやけどするおそれがあります。
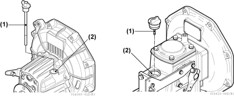
クラッチとセイルドライブの潤滑油の交換
内部部品の摩耗により潤滑油は汚れるので、使用初期の早めの交換とその後の定期的な交換が必要です。
- クラッチまたはセイルドライブの検油棒(1)を兼ねる給油口のふたを取外し、排油ポンプを取付けて潤滑油を抜きます。
※セイルドライブの場合は、船体を上架しロアギアケースのドレンプラグをゆるめて潤滑油を抜き取ります。
- 指定の潤滑油を給油口(2)から規定量入れ、ふたを閉めます。
- エンジンを運転し、潤滑油の漏れがないか確認します。

Vベルトの張り調整
Vベルトの張りが不充分な場合、Vベルトがスリップして冷却水ポンプが送水をせずにオーバーヒートや焼き付きの原因となります。 また、Vベルトの張りが強すぎる場合、早期にVベルトが破損するおそれがありますので定期的にVベルトの点検と張り調整するようにしてください。
- ベルトカバーを取外しプーリ間のVベルト中央部を親指で押さえ、たわみが基準値内(新品:6〜8mm、使用品:8〜10mm)であればVベルトの張りは良好です。
- Vベルトのたわみが基準値外のときは、ベルトアジャスタで張り(たわみ)を調整します。
- あわせて、Vベルトの傷や摩耗などを点検します。
- Vベルトを新品と交換する場合は、アジャスタ取付けボルトをゆるめてオルタネータを動かすかまたは、冷却水ポンプのVプーリ取付けボルトをゆるめてからVベルトを取外します。
- Vベルトを新品に交換する場合は、Vベルトの張りを新品時のたわみに調整して約5分間運転し、再度、点検・調整します。

(A)冷却水(海水)駆動用
(B)清冷却水(清水)+オルタネータ駆動用
(C)アジャスタボルト
50時間毎または1ヶ月毎の点検
50時間毎または1ヵ月毎のどちらか先にきた時期に、次の点検を実施ください。
- 燃料フィルタのドレン抜き
- バッテリーの液量点検と補充電
- プロペラ軸の芯出し調整
燃料フィルタのドレン抜き
- 燃料タンクのコックを閉じます。
- 燃料フィルタのリテーナリング(1)を緩めてケースを取外します。
ケース(2)内に溜まった水やごみを取除きます。 - 組立後、必ず燃料系統の空気抜きを行います。
空気抜きは次の手順で実施します。
- 【空気抜きの手順】
-
- 燃料タンクの燃料油量を確認し、不足していれば補給します。
- 燃料フィルタ上部の空気抜きボルト(3)を2、3回転ゆるめます。
- 燃料フィードポンプの左側のレバーを上下に動かして燃料を送ります。
- 空気抜きボルト穴から気泡を含んだ燃料を排出し、気泡が出なくなったら空気抜きボルトを締めます。これで空気抜きが完了します。
- エンジンを始動すると自動空気抜き装置が働いて燃料系統の空気を排出するので通常運転において手動の空気抜き作業は必要ありません。

バッテリーの液量点検・補充電
- 【液量点検】
- 電解液の液面の高さを点検し、液面の高さが最低液面の近くまで減っている場合は、バッテリー補充液を最高液面目盛りまで補給ください。
電解液が少ない状態で使用すると、バッテリーの寿命を短くしたり、 発熱や爆発の原因になることがあります。

- 【補充電】
- バッテリー容量を点検し容量が不足している場合、補充電が必要です。
充電は、次の手順で実施します。
- バッテリーの液口栓を開けて、バッテリー補充液を規定レベルまで入れ各セルの比重測定をします。
- 充電器の赤色グリップをプラス(+)側に黒色グリップをマイナス(-)側に接続します。
- 充電電流のスイッチでバッテリー容量の10%〜20%程度の一定電流にセットします。
- 1〜2時間ごとに比重測定し、比重が1.28〜1.30に近づいているのを確認します。また、バッテリーケースの温度は45℃以上にならないようにします。
充電器による外部充電を行うとき、バッテリーのプラス(+)コードは、必ず取外してダイオードの焼損を防止してください。

電気ショートによる火災に注意
電気系統を点検するときは、アースケーブル(-)を取外して実施ください。
誤ってショートした場合、火災のおそれがあります。
バッテリー周辺の換気に注意
バッテリー周辺の換気を良くし、火気を近づけないよう注意ください。
運転中や充電中、バッテリーから発生する水素ガスで引火するおそれがあります。
バッテリー液の付着に注意
バッテリー電解液が皮膚や目などに付着しないよう注意ください。
電解液は強い酸性なので皮膚や目などに付着すると、やけどや失明するおそれがあります。
万一、付着したときは、すぐに多量の清水できれいに洗浄し、医師の手当てを受けてください。
100時間毎または6ヶ月毎の点検
100時間毎または6ヵ月毎のどちらか先にきた時期に、次の点検を実施ください。
150時間毎または1年毎の点検
150時間毎または1年毎のどちらか先にきた時期に、次の点検を実施ください。
250時間毎または1年毎の点検
250時間毎または1年毎のどちらか先にきた時期に、次の点検を実施ください。
- 燃料タンクのドレン抜き
- 燃料フィルタのエレメント交換
- クラッチ潤滑油の交換
- エンジン潤滑油とフィルタの交換
- 海水ポンプインペラの点検
- 冷却水(清水)の交換
- 吸気サイレンサエレメントの洗浄
- ミキシングエルボの洗浄
- Vベルトの張り調整
- 配線状態の点検
燃料フィルタのエレメント交換
燃料フィルタが目詰まりして燃料の流れが悪くなる前に、定期的に燃料フィルタのエレメントを新品に交換ください。
また、エンジン運転後にフィルタ交換を行うときは、充分に冷えてから実施ください。
- 燃料タンクのコックを閉じます。
- 燃料フィルタのリテーナリング(2)を緩めケースを取付台(3)から取外します。
- ケース内に溜まった水やごみを取除きます。
- エレメント(1)を新品に交換してケースを取付台に取付けます。
- 組付後、必ず、燃料系統の空気抜きを行います。

海水ポンプインペラの点検
インペラが損傷したり、海水ポンプの内部部品が劣化すると海水の吐出性能が低下するので定期的に点検し、不具合があれば交換ください。
- 海水ポンプ(4)のカバー(1)取付けボルトを外し、カバーを取外します。
- Oリング(2)とインペラ(3)を取出します。
- ゴムインペラ外周の亀裂、損傷を点検し、要すれば新品と交換します。
インペラは定期的に(1000時間毎か4年毎のいずれか早い時期)、新品と交換ください。

- 【インペラの取付け要領】
- 海水ポンプはインペラ側より見て右方向に回転するので、インペラの羽根の向きは図示の方向に取付けます。
インペラを取外したときに、羽根を反対方向に取り付けたり、海水ポンプを反対方向に回さないよう注意ください。 - また、エンジンをターニングする場合も反対方向に回さないよう注意ください。
冷却水(清水)の交換
錆や水あかなどによって冷却水が汚れてくると冷却性能が低下します。不凍液を使っている場合でも、成分が劣化するので1年に1度は必ず冷却水の交換を実施ください。
冷却水は、必ずきれいな軟水(水道水)を使用ください。
- 2ヵ所の清水の水抜きコック(1)を開いて清水を排出します。
- 清水の水抜きコック(1)を閉めます。
- 清水クーラ上部の給水口ふたを1/3回転左に回して取外します。
- 気泡が発生しないようゆっくりと冷却水を給水口から溢れるまで入れます。
- 冷却水を入れた後、給水口ふたを取付け、しっかりと締付けます。
給水口ふたを取付けるには、ふたの下にあるノブを給水口のノッチに合わせて右に1/3回転回します。 - サブタンクのふたを外し冷却水を下限位置まで入れ、ふたを閉めます。
- サブタンクと冷却水クーラをつなぐゴムホースの接続のゆるみや損傷がないか点検します。

吸気サイレンサエレメントの洗浄
吸気サイレンサのエレメントは長期間使用すると、目詰まりして吸入空気量を大きく減少させ、エンジンの出力低下を招きますので定期的に洗浄ください。
- 吸気サイレンサを分解してポリウレタン製エレメント(1)を外します。
- エレメントを中性洗剤で洗浄します。

ミキシングエルボの洗浄
排気マニホールドに取付けられるミキシングエルボには、LタイプとUタイプの2種類があります。
- ミキシングエルボの排気と海水の通路の汚れやスケールを落とします。
- ミキシングエルボに割れや傷がある場合、修理するか新品に交換します。
- パッキン(1)を点検し、必要であれば新品に交換します。

配線状態の点検
配線の各接続ヵ所がゆるんでいないか点検ください。

1000時間毎または4年毎の点検
1,000時間毎または4年毎のどちらか先にきた時期に、次の点検を実施ください。
- 燃料噴射時期の点検
- 燃料弁の噴霧状態の点検
- 海水ポンプインペラの点検
- 冷却水路の点検
- ボンネットのダイヤフラムの点検
- Vベルトの張り調整
- 主要ボルト・ナットのゆるみ点検
- 吸排気弁のすき間調整
- リモコン装置の作動点検と調整
- 防振ゴムの交換
燃料噴射時期の点検
エンジン性能が最良になるように燃料噴射タイミングを以下の要領で点検・調整します。
- 燃料系統の空気抜きを実施し、エンジンを始動できる状態にします。
- 燃料ポンプ取付けフランジとギヤケースの刻印線が合っているか確認します。
- 燃料ポンプのコントロールレバーを運転の位置にします。
- 燃料ポンプ側の1シリンダの高圧管を取外します。
※デリベリホルダは取外しません。
- クランク軸をターニング(ギヤケース側よりみて右方向)すると、デリベリホルダ先端の油面が盛り上がってくるので、盛り上がりと同時に回転を止めてデリベリホルダの出口の燃料をきれいに拭き取ってください。次に、クランク軸を反対方向にターニングし、トップ前20度程度に戻します。
- 再度、クランク軸をターニング(右方向)して、デリベリホルダ先端の油面が盛り上がってくるので、盛り上がりと同時に回転を止めます。
- フライホイールハウジングの、のぞき穴からフライホイールに打刻されているタイミングマークを読みとります。トップマークの位置が表の目盛りの間にあれば正規の噴射時期です。
機種名 度 b.T.D.C 2YM15 21±1 3YM20 22±1 3YM30 16±1 - 手順5〜7の操作を2〜3回繰り返し確認します。噴射時期の確認は通常は、1シリンダ分でよいが、全シリンダを確認する場合は、着火順序に従い実施します。
・3気筒の場合は、シリンダ1-3-2-1の順に240度ずつ回転させて確認します。
・2気筒の場合は、シリンダ1-2の順に180度回転させて確認します。
- 噴射時期が基準値を外れている場合は、燃料ポンプの取付けナットを緩めて燃料噴射ポンプ本体をエンジン側または、反エンジン側に倒して調整します。
・噴射時期を進める場合は、反エンジン側へ倒します。
・遅らせる場合は、エンジン側に倒します。
燃料ポンプ取付け部のギヤケースの刻印1目盛り(1度)で、噴射時期は2度変化します。

燃料弁の噴霧状態の点検
エンジン性能が十分発揮できるように燃料噴射状態を最適な状態で維持してください。
噴射弁の噴射試験を行うときは保護眼鏡をかけてください。
また、噴口部には手を出さないよう注意ください。
噴口部から噴出する燃料は高圧です。触れると失明やけがの恐れがあります。
- 【噴射圧力の測定】
-
- 燃料噴射弁をノズルテスターの高圧管につなぎます。
- ノズルテスターのレバーをゆっくり操作し、燃料噴射弁から燃料が噴射し始める瞬間の圧力を読みます。
新品の燃料噴射弁は、ばねなどの初期なじみのため、使用開始から約5時間の運転で噴射圧力が約0.5MPa(5kgf/ cm2 )低下します。従って、新品の燃料噴射弁を調整する場合は、基準値よりも0.5MPa(5kgf/ cm2 )高めに調整ください。基準値 12.3 〜 13.28MPa(125 〜 135kgf/ cm2 )1 - 測定した噴射圧力が規定値より低くなっている場合は、圧力調整シムを厚いものと替えてください。
圧力調整シム
厚さの種類(mm)0.1, 0.2, 0.3, 0.4, 0.5, 0.52, 0.54, 0.56,0.58, 0.8 噴射圧力調整 圧力調整シムを0.1mm 厚くすると噴射圧力は、約1.1MPa(11kgf/ cm2 )高くなる。 - 規定の開圧弁に調整したのち、ノズルテスターにより噴霧状況、シートの油密チェックを行います。
- 【シートの油密チェック】
-
- 2〜3回噴射させたのち、圧力を徐々に上げ、開弁圧力の2.0 MPa(20kgf/cm2 )手前で5 秒間圧力を保持し、燃料噴射弁先端から油の滴下がないことを確認します。
- ノズルテスターで噴射させながら、オーバフロー継手から極端に多い油の漏れがある場合には、もう一度締め直して確認します。漏油が多い場合には、燃料噴射弁仕組で交換します。
- 【噴霧および噴射状態】
- ノズルテスターのレバーを1秒間に1 〜 2回の速さで操作し、異常な噴射のないことを確認します。
正常噴霧状態が得られないものは交換ください。 -
- 極端な傾きがないこと。
- 噴射角θが広過ぎず、狭過ぎないこと。
- 噴霧全体が微細な霧状になっていること。
- 噴霧の切れが良い(後たれがない)こと。

- 【ノズルバルブ摺動テスト】
- ノズルバルブをきれいな燃料油でよく洗ってノズルボディーを垂直にし、その中へノズルバルブをその長さの1/3程度入れ、ノズルバルブが自重でスムースに落下すれば良好です。
新品燃料噴射弁の場合には、シールピールを除去した後、きれいな軽油等に浸して燃料噴射弁の内外を洗浄して防錆油をよく落としてから使用ください。

- 【燃料噴射弁の刻印】

冷却水路の点検
エンジンを長期間使用すると、冷却水通路にゴミ、スケール、錆などが溜まり冷却性能が低下しますので、定期的に冷却水通路を洗浄してください。
- 【冷却水ゴムホースの点検】
- エンジンを長期間使用すると、冷却水通路にゴミ、スケール、錆などが溜まり冷却性能が低下しますので、定期的に冷却水通路を洗浄してください。
- 清水と海水のゴムホースを取外します。
- ゴムホース内のゴミを点検し、要すれば洗浄します。
- ゴムホースの割れや劣化を点検し、要すれば新品と交換します。
- ホースクリップを点検し、要すれば新品と交換します。
- 【清水クーラコアの点検】
-
- 冷却パイプ内の錆やスケールを点検し、要すればワイヤブラシで清掃します。
- 冷却パイプを点検し、もし漏れがあれば新品と交換します。
- 冷却パイプの外側の錆やスケールを取除きます。
※清水温度が85℃を超える時は、清水クーラの分解・洗浄が必要です。
- 【清水クーラ本体の点検】
-
- クーラ本体と側ふたのゴミや腐食の有無を点検し、腐食や割れがある場合は新品と交換します。
- 海水と清水の出入口を点検し、要すれば継手部を締め直し、パイプの内部をきれいにします。
- 排気ガス入口と通路部を点検し、腐食や割れがある場合は新品と交換します。
- 【清水クーラ本体の水漏れテスト】
圧縮空気と水タンクの使用 -
- 清水と海水の出入口にゴムキャップを取付けます。
- 清水クーラを水タンクに入れて給水口ふた(フィラーキャップ)のオーバーフローパイプから圧縮空気[ 0.20MPa(2kgf/cm2 )]を送り込み、気泡の発生がないか点検します。

- テスターの使用
-
- 清水と海水の出入口にゴムキャップをし、水を清水タンク部に充満します。
- 給水口ふたの代わりに圧力テスターを取付け、ポンプを1分間作動して圧力計の圧力を0.15MPa(1.5kgf/cm2 )にセットします。
・漏れがあれば、圧力が規定の圧力まで上がりません。
・漏れがなければ、圧力は規定圧を維持します。

- 【フィラーキャップの点検】
-
- スケールやゴミを取除きフィラーキャップのシート部とバルブの引掻き傷や摩耗を点検します。
ばねの腐食やヘタリを点検し、要すれば新品と交換します。 - 圧力テスターのアダプタを給水口に取付けます。
圧力計が規定圧力範囲0.074〜0.103MPa(0.75 〜 1.05 kgf/cm2 )になるまでポンプを作動し、圧力計の読みを記録します。
圧力が6秒間保持できればフィラーキャップは正常です。また圧力が維持できなかったり、急激に下がる場合は、フィラーキャップを点検し、要すれば修理または新品と交換ください。
- スケールやゴミを取除きフィラーキャップのシート部とバルブの引掻き傷や摩耗を点検します。
エンジンの運転中や停止直後にフィラーキャップを開けると高温蒸気が噴出するので決して開けないでください。
ボンネットのダイヤフラム点検
ボンネット上のダイヤフラムが破損すると、クランクケース内の圧力コントロールが不十分になり、燃焼不良などの弊害が生じることがあるので定期的に点検ください。
- ねじをゆるめダイヤフラム仕組を取外し、ダイヤフラムとふたの間にオイルなどが進入していないかチェックします。
- ダイヤフラムのゴムに異常がないか、また、ばねが折損していないか点検し、要すれば交換します。
潤滑油の交換や補給時、潤滑油が規定量の上限を越えると、ブローバイ還元装置を採用しているため大量のオイルミストが燃焼室に吸込まれてオイルハンマーが発生することがあるので注意ください。
主要ボルト・ナットのゆるみ点検
次の主要ボルトとナットは、規定の締付けトルクで締め直します。
| トルクN・m(kgf・m) | |
|---|---|
| シリンダヘッドボルト | 53.9〜57.9(5.5〜5.9 |
| クランク軸プーリボルト | 83.3〜93.3(8.5〜9.5) |
| 燃料噴射弁取付けボルト | 49〜53(5.0〜5.4) |
| 燃料ポンプ駆動ギヤ取付けナット | 58.8〜68.8(6.0〜7.0) |
| 燃料噴射管の袋ナット | 29.4〜34.4(3.0〜3.5) |
次の主要ボルトとナットは、規定の締付けトルクで締め直します。
| 22.6〜27.5(2.3〜2.8) | |
| フライホイール取付けボルト | 80.4〜86.4(8.2〜8.8) |
| 主軸受けボルト | 75.5〜81.5(7.7〜8.3) |