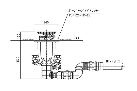
ポップアップスプリンクラー
ポップアップスプリンクラーは、ゴルフ場や公園、芝生広場、パークゴルフ場、ホッケー場などで使用されています。設置したままの状態で中のインターナル、ストップマチックバルブを交換することができます。ストップマチックバルブは、一定圧以下になるとバルブが閉じることによりボタ落ちを防⽌します。
- ゴルフ場・公園緑化用 ポップアップスプリンクラー
- 人工芝・広域芝地用 大型ポップアップスプリンクラー
- 小域エリア用 ローター式ポップアップスプリンクラー
- ゴルフ場・公園緑化用 ローター式スプリンクラー・専用ジョイント
- 散⽔用一般 スプリンクラー

製品画像内のアイコン説明
-
全回転
-
部分回転
部分回転式
散水範囲を任意の角度に調整可能。
全回転も可能。
-
ストップマチック
ストップマチック内蔵
ボタ落ち防⽌機能
-
1ノズル
ノズルの数
-
ブレーカー
ブレーカーノズル付
⽔束を調整して⾶距離、⽔滴粒子を調整可能。
ゴルフ場・公園緑化用 ポップアップスプリンクラー
人工芝・広域芝地用 大型ポップアップスプリンクラー
小域エリア用 ローター式ポップアップスプリンクラー
-

PUP55
PUP56- 全回転
- 1ノズル
- ストップ
マチック - 部分回転
- 1ノズル
- ストップ
マチック
0.17~0.45圧力(MPa)
10.1~15.2半径(m)
4.2~36.6流量(L/分)
-

PUP60
PUP61- 全回転
- 3ノズル
- ストップ
マチック - 部分回転
- 3ノズル
- ストップ
マチック
0.21~0.50圧力(MPa)
11.9~18.1半径(m)
10.98~54.72流量(L/分)
ゴルフ場・公園緑化用 ローター式スプリンクラー・専用ジョイント
-

PUP80
PUP81- 全回転
- 3ノズル
- ストップ
マチック - 部分回転
- 3ノズル
- ストップ
マチック
0.35~0.50圧力(MPa)
17.4~23.2半径(m)
42.27~113.28流量(L/分)
-

スイングジョイント
(自在ジョイント)- スプリンクラーの高さを調整することができます。
- 上部からの踏圧などによるスプリンクラーや配管の破損を防ぎます。
- 樹脂製なのでサビや腐食の心配がありません。
散⽔用一般 スプリンクラー
-

30FK-3
- 全回転
- 2ノズル
- ブレーカー
27°散⽔仰角
0.15~0.40ノズル圧⼒(MPa)
18.0~42.3吐出⽔量
(L/分)24.0~30.7散⽔直径(m)
-

30PK2
- 部分回転
- 1ノズル
- ブレーカー
25°散⽔仰角
0.15~0.45ノズル圧⼒(MPa)
12.5~31.2吐出⽔量
(L/分)12.3~15.5散⽔半径(m)
-

80FK3
- 全回転
- 2ノズル
- ブレーカー
23°散⽔仰角
0.35~0.70ノズル圧⼒(MPa)
159.3~438.1吐出⽔量
(L/分)51.0~72.5散⽔直径(m)
-

85PK3
- 全回転
- 部分回転
- 2ノズル
- 4ノズル
- ブレーカー
25°散⽔仰角
0.20~0.70ノズル圧⼒(MPa)
55.6~395.5吐出⽔量
(L/分)17.8~35.1散⽔半径(m)
-

100PW1〜5
- 部分回転
- 2ノズル
25°,30°,
36°,40°,45°散⽔
仰角0.40~0.70ノズル圧⼒(MPa)
430.0~713.0吐出⽔量
(L/分)31.0~42.0散⽔半径(m)
製品別カタログダウンロード

















